- Mensajes: 1404
- Gracias recibidas: 118
Samsung patenta un arreglo de locura con 6 cámaras para smartphones
- forseti99
-
Autor del tema
- Desconectado
- Moderador
-
- Cría cuervos, y tendrás muchos.
Menos
Más
5 años 7 meses antes #1
por forseti99
Samsung patenta un arreglo de locura con 6 cámaras para smartphones Publicado por forseti99
Los teléfonos de Samsung son de los dispositivos más populares del planeta, pero solo porque vende teléfonos que le interesan a la mayoría de los consumidores, no significa que sea adverso a tratar nuevos conceptos locos. Fueron una de las primeras compañías en apostar a los teléfonos plegables con el Galaxy Fold. Ahora, una nueva patente publicada por Samsung revela que está pensando en una nueva y fascinante visión para cámaras de smartphones.
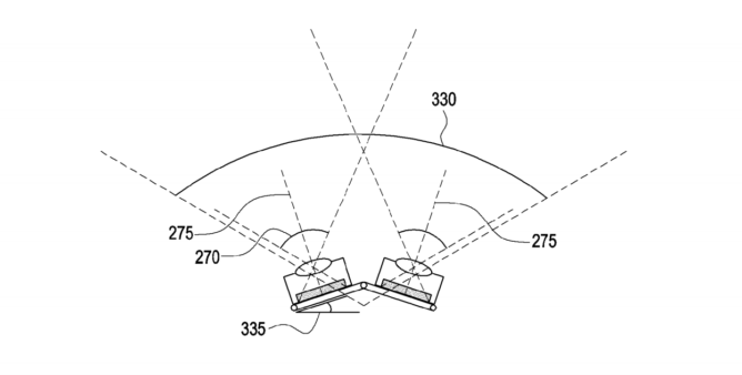
El año pasado, Samsung aplicó para una patente llamada "Aparato y método para operar múltiples cámaras para fotografía digital", y el documento de 55 páginas ya ha sido publicado en línea. Parece mostrar que la compañía está experimentando con un arreglo de cámaras que incluye cinco lentes anchos y un lente de telefoto, así como otras variaciones. Pero lo que es realmente interesante aquí es que las cámaras son inclinables, con cada lente capaz de inclinarse independientemente de los otros. Teóricamente, un dispositivo podría optimizar la configuración del arreglo de cámaras usando algoritmos de procesado de imagen especiales que lograrían más calidad que si los sensores estuvieran inmóviles.
Un gran ejemplo de la forma en que esto podría funcionar es cuando se realiza una fotografía de un paisaje panorámico. Con los lentes de las cámaras exteriores inclinándose hacia las orillas y el centro permaneciendo derecho, un dispositivo podría capturar imágenes mas anchas y de mayor calidad al tomar información de los seis lentes y combinándolos en una espectacular fotografía.
También podría habilitar la captura de imágenes panorámicas con efecto "bokeh", el cual no está aún disponible en ningún dispositivo Samsung. De acuerdo a la patente, este tipo de arreglo de cámaras puede resultar en imágenes de mejor calidad en condiciones de luz pobres, así como enfoque mejorado y HDR de mayor calidad cuando es optimizado apropiadamente.
Conforme las cámaras móviles en nuestros smartphones continúan evolucionando, las compañías siguen intentando nuevas cosas para diferenciarse de la competencia. Ya sea que es un conteo de megapixeles de locura o simplemente un sensor macro de 2MP, los teléfonos hoy en día tienes que destacar en un mercado competitivo. Google trata de hacer más con menos en su línea Pixel, y aunque Samsung puede haber caído atrás en el juego de fotografía computacional en años recientes, parece que la compañía podría estarse "inclinando" en alguna dirección interesante para futuros productos.
**
¿Alguien dijo 100 cámaras por teléfono?
Fuente:
www.androidpolice.com/2020/06/18/samsung-patents-a-crazy-6-camera-tilting-array-for-smartphones/
El año pasado, Samsung aplicó para una patente llamada "Aparato y método para operar múltiples cámaras para fotografía digital", y el documento de 55 páginas ya ha sido publicado en línea. Parece mostrar que la compañía está experimentando con un arreglo de cámaras que incluye cinco lentes anchos y un lente de telefoto, así como otras variaciones. Pero lo que es realmente interesante aquí es que las cámaras son inclinables, con cada lente capaz de inclinarse independientemente de los otros. Teóricamente, un dispositivo podría optimizar la configuración del arreglo de cámaras usando algoritmos de procesado de imagen especiales que lograrían más calidad que si los sensores estuvieran inmóviles.
Un gran ejemplo de la forma en que esto podría funcionar es cuando se realiza una fotografía de un paisaje panorámico. Con los lentes de las cámaras exteriores inclinándose hacia las orillas y el centro permaneciendo derecho, un dispositivo podría capturar imágenes mas anchas y de mayor calidad al tomar información de los seis lentes y combinándolos en una espectacular fotografía.
También podría habilitar la captura de imágenes panorámicas con efecto "bokeh", el cual no está aún disponible en ningún dispositivo Samsung. De acuerdo a la patente, este tipo de arreglo de cámaras puede resultar en imágenes de mejor calidad en condiciones de luz pobres, así como enfoque mejorado y HDR de mayor calidad cuando es optimizado apropiadamente.
Conforme las cámaras móviles en nuestros smartphones continúan evolucionando, las compañías siguen intentando nuevas cosas para diferenciarse de la competencia. Ya sea que es un conteo de megapixeles de locura o simplemente un sensor macro de 2MP, los teléfonos hoy en día tienes que destacar en un mercado competitivo. Google trata de hacer más con menos en su línea Pixel, y aunque Samsung puede haber caído atrás en el juego de fotografía computacional en años recientes, parece que la compañía podría estarse "inclinando" en alguna dirección interesante para futuros productos.
**
¿Alguien dijo 100 cámaras por teléfono?
Fuente:
www.androidpolice.com/2020/06/18/samsung-patents-a-crazy-6-camera-tilting-array-for-smartphones/
Por favor, Conectar o Crear cuenta para unirse a la conversación.
Tiempo de carga de la página: 0.387 segundos